Truck Scale Load Cell 40t: ZSF-A40t
พิกัดโหลดเซลล์ต่อตัว 40ตัน
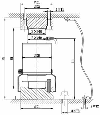
โหลดเซลล์รถบรรทุกทุก โหลดเซลล์แท่นชั่ง โหลดเซลล์รับแรงกด
พื้นเพลทล็อกบน-ล่าง สะดวกสำหรับการนำไปติดตั้ง
Precision: C2-C5
Safe overload:150%
Material: Alloy steel
Apply to:truck / railway / axle-load / floor scale
Wire: Red Exc+ / Black Exc- / Green Sig+ / White Sig-
|
Rated Capacity |
|
|
40T |
|
Sensitivity |
2.0±0.002MV/V |
|
Accuracy |
C2-C3 |
|
Zero balance |
±1%F.S |
|
Temp. effect on zero |
±0.02%F.S/10 ℃ |
|
Temp. effect on span |
±0.02%F.S/10 ℃ |
|
Input resistance |
400±20 Ω |
|
Output resistance |
352±3 Ω |
|
insulation resistance |
≥5000 MΩ |
|
Temp. rang, compensated |
-10 ℃~+40 ℃ |
|
Temp. range operating |
-30 ℃~+70 ℃ |
|
Max. safe overload |
150% F.S |
|
Ultimate overload |
250%F.S |
|
Excitation voltage , recommend |
10-12V DC |
|
Excitation voltage , max. |
15V DC |
|
Protection class |
IP68 |
|
Construction |
Alloy steel, stainless steel |
|
Cable |
Length, L:16m-40T/50T Diameter: Ø 5mm |


This website uses cookies (Learn more) and has a privacy policy (Learn more).


